Министерство Юстиции Российской Федерации версия для слабовидящих
ПРИКАЗ Минюста РФ от 03.07.2012 N 130
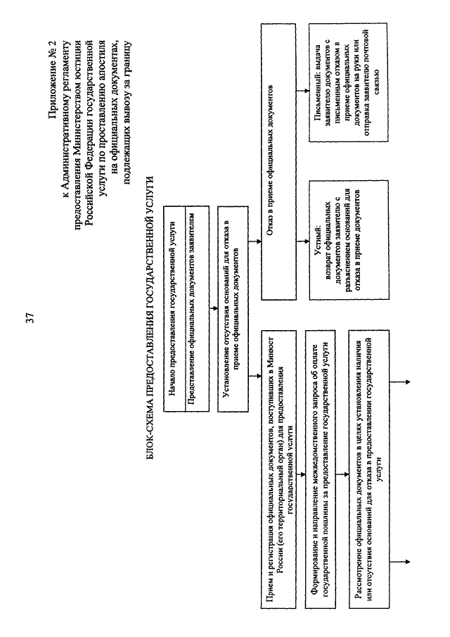
"ОБ УТВЕРЖДЕНИИ АДМИНИСТРАТИВНОГО РЕГЛАМЕНТА ПРЕДОСТАВЛЕНИЯ МИНИСТЕРСТВОМ ЮСТИЦИИ РОССИЙСКОЙ ФЕДЕРАЦИИ ГОСУДАРСТВЕННОЙ УСЛУГИ ПО ПРОСТАВЛЕНИЮ АПОСТИЛЯ НА ОФИЦИАЛЬНЫХ ДОКУМЕНТАХ, ПОДЛЕЖАЩИХ ВЫВОЗУ ЗА ГРАНИЦУ"
(Зарегистрировано в Минюсте РФ 25.07.2012 N 25000)
Показывать страниц:
Для качественной печати: PDF-файл документа (3 Мб)
Страница 39 из 45