Министерство Юстиции Российской Федерации версия для слабовидящих
ПРИКАЗ Минюста РФ от 05.06.2014 N 122
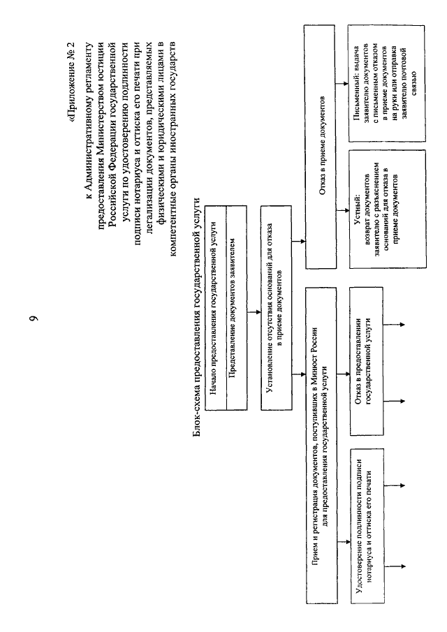
"О ВНЕСЕНИИ ИЗМЕНЕНИЙ В АДМИНИСТРАТИВНЫЙ РЕГЛАМЕНТ ПРЕДОСТАВЛЕНИЯ МИНИСТЕРСТВОМ ЮСТИЦИИ РОССИЙСКОЙ ФЕДЕРАЦИИ ГОСУДАРСТВЕННОЙ УСЛУГИ ПО УДОСТОВЕРЕНИЮ ПОДЛИННОСТИ ПОДПИСИ НОТАРИУСА И ОТТИСКА ЕГО ПЕЧАТИ ПРИ ЛЕГАЛИЗАЦИИ ДОКУМЕНТОВ, ПРЕДСТАВЛЯЕМЫХ ФИЗИЧЕСКИМИ И ЮРИДИЧЕСКИМИ ЛИЦАМИ В КОМПЕТЕНТНЫЕ ОРГАНЫ ИНОСТРАННЫХ ГОСУДАРСТВ, УТВЕРЖДЕННЫЙ ПРИКАЗОМ МИНИСТЕРСТВА ЮСТИЦИИ РОССИЙСКОЙ ФЕДЕРАЦИИ ОТ 28 ИЮНЯ 2012 Г. N 123"
(Зарегистрировано в Минюсте РФ 17.06.2014 N 32695)
Показывать страниц:
Для качественной печати: PDF-файл документа (747 Кб)
Страница 11 из 16